0引言 多溴聯苯和多溴聯苯醚是兩種最常用的溴系阻燃劑,其生產工藝成熟、價廉易得[1]。但《rohs》指令和《管理辦法》的相繼實施對我國的生產企業提出了更高的要求,無論有無出口歐盟的業務,中國的阻燃塑料制品生產廠商都面臨一個緊迫的問題———尋找可供替代的阻燃劑。 溴化聚苯乙烯(bromatedpolystyrene,bps)是一種新型的、添加型高分子阻燃劑,具有溴含量高、耐熱性好、對樹脂耐沖擊性能影響小、耐析出等優點。一般用于阻燃pa、pet、pbt等耐高溫工程塑料[2]。低毒、環保是bps最大的優點,溴化聚苯乙烯完全符合歐盟《rohs指令》和《管理辦法》,是多溴聯苯和多溴聯苯醚的最佳替代產品。 目前,世界上僅有兩家公司能夠生產bps,美國的大湖公司和雅保公司,有幾家國內的阻燃劑生產企業曾經對bps進行過研究和試生產,但質量不過關,實際使用情況不盡如人意,bps的年產量僅為1000~2000t。國產bps的主要問題是:熔點高(260~320℃)而初始分解溫度低(185℃,5%熱失質量),分散性差,與樹脂的相容性差,降低樹脂的機械性能,阻燃劑產品難以應用,但是進口的同類產品不存類似問題。國內企業大多以相對分子質量較大的通用級ps(相對分子質量為2×105~3×105)為原料,得到的bps相對分子質量較大(1.8×105~2.4×105),而進口bps的gpc測試結果表明其相對分子質量為1×104~5×104。而且,由于國產bps的相對分子質量分布較寬,加工時,相對分子質量大的分子還未完全融化,相對分子質量小的分子已經開始受熱分解,造成國產bps熔點高、分解溫度低的缺點。由此可見,控制bps的相對分子質量和相對分子質量分布是提高阻燃劑質量的關鍵。 1實驗 1.1原料 聚苯乙烯ps-1:原子轉移自由基聚合(atrp)法合成,mn約1×104,自制;聚苯乙烯ps-2:pg-33,mn約5×104;臺灣奇美;二氯甲烷、無水三氯化鋁、五氧化二磷、鋁粉99%(200目)、氫氧化鈉、四氯化碳、二硫化碳、亞硫酸氫鈉:分析純,國藥集團化學試劑有限公司。 1.2制備 以二氯甲烷為溶劑,每50ml溶劑溶解3~5g聚苯乙烯。主催化劑無水三氯化鋁的用量為0.1~0.3g,副催化劑鋁粉的用量為0.1~0.2g,脫水劑五氧化二磷的用量為0.2~0.4g,以液溴為溴化劑,合成溴化聚苯乙烯[3-4]。于10~20℃滴加液溴,液溴的滴加速度不能太快,一般控制在4~6滴/min,2~4h內滴完;滴加完畢后升溫至30~40℃,回流2h,加入少量水終止反應。過量的液溴和溴化氫用高濃度的氫氧化鈉溶液中和,溶有bps的二氯甲烷溶液用去離子水反復水洗,直至有機層呈中性、游離溴被洗盡(用agno3溶液檢測分離出來的水層,如果有游離溴,則會生成白色的溴化銀沉淀,否則就代表游離溴被洗干凈了)。有機層于60℃共水蒸餾,回收二氯甲烷溶劑,將黃色的蜂窩狀固體取出粉碎干燥,就得到了低相對分子質量的溴化聚苯乙烯產品。 1.3表征 用waters150凝膠滲透色譜儀(美國waters公司)測試bps相對分子質量和相對分子質量分布。采用單分散性ps內標,流動相為四氫呋喃,色譜純,流速1ml/min,柱溫25℃。tga測定采用sta449c熱分析儀(德國netzsch公司)。氮氣保護,升溫速度:3℃/min。測量溴含量:氧瓶法和dionex500離子色譜儀(美國dionex公司)聯用,用氧瓶法對樣品進行燃燒處理[5],以間氯苯甲酸為標樣,采用離子色譜儀測試其溴含量。 2結果與討論 2.1催化劑用量對bps溴含量的影響 n(ps)∶n(br)=1∶3,當主催化劑無水三氯化鋁用量低于2%(質量分數,以ps計)時,bps的溴含量較低,僅為37%;主催化劑用量增至3%后,bps的溴含量增加到41%,繼續增加催化劑用量,bps的溴含量無明顯提高,因此實驗將催化劑無水三氯化鋁的用量定為3%。 2.2液溴用量對bps溴含量的影響 溴系阻燃劑阻燃效能的高低由溴含量決定,bps的溴含量由液溴與聚苯乙烯的物質的量比控制。為了提高bps的溴含量,使重復單元的苯環上接入盡可能多(2~3個)的溴原子,液溴必須過量,使溴化反應朝正方向進行。考察不同的ps與液溴的物質的量比對bps溴含量的影響,結果如表1。 表1溴化劑用量對bps溴含量的影響
和64.51%,繼續增加液溴用量,bps的溴含量無明顯變化,反而提高了溴化成本。此時,重復單元的苯環上接有2.3個溴原子(平均值)。 2.3溶劑對bps溴含量的影響 主催化劑無水三氯化鋁微溶于二氯甲烷,溴化體系是非均相的反應體系,催化劑的催化效率不高。因此三氯化鋁必須在使用前輾碎,催化劑加入后,體系需要預攪拌3h才能開始反應,即便如此,催化劑也只能部分溶解(50%~60%的未溶解),溶液的顏色為橙紅色。為了提高三氯化鋁的催化效率,增加催化劑在溶劑中的溶解度,使溴化體系變為均相體系,本文通過溶劑復配的方法,提高三氯化鋁在體系中的溶解度和催化效率。 三氯化鋁易溶于水、醇、二硫化碳、四氯化碳,其中只有cs2和ccl4能夠與二氯甲烷完全互溶,且不影響取代反應。輔助溶劑的用量一般為主溶劑的5%~10%(體積分數),簡單攪拌后0.3g三氯化鋁完全溶于5~10ml良溶劑中,再將溶有催化劑的溶液加入主溶劑中,三氯化鋁能夠在反應體系中均勻分散且不析出,溴化催化體系變為均相的反應體系,三氯化鋁的催化效率明顯提高。以聚苯乙烯ps-1為原料,得到的bps的溴含量如表2所示。 表2助溶劑對bps溴含量的影響
實驗數據表明,使用輔助溶劑后,三氯化鋁的催化效率明顯提高。與未加入輔助溶劑的非均相催化體系相比,bps的溴含量分別提高了約10%和15%。三氯化鋁在兩種輔助溶劑中的溶解度差異不大,但是從實驗來看,以cs2為輔助溶劑,聚苯乙烯的溴化效果更好,bps的溴含量更高。通過溶劑復配的方法提高催化劑的催化效率,為合成高溴含量的bps提供了寶貴經驗。 2.4溴化反應對bps聚合度的影響 聚苯乙烯在溴化反應中會出現分子鏈斷裂和聚合度降低的現象,而且bps的相對分子質量分布會變寬,溴化反應前后ps與bps相對分子質量和相對分子質量分布對比如表3所示。 表3 溴化反應對bps聚合度的影響
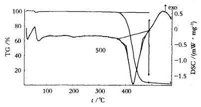
由表3可知:在溴化反應中,聚苯乙烯的分子鏈確實發生了斷裂,bps的聚合度降低了。相對分子質量不同的聚苯乙烯,其降解程度也不同,相對分子質量較高的ps的降解程度比相對分子質量低的ps要更加厲害。ps相對分子質量越高,分子鏈就越長,分子鏈上可斷裂的點越多。一般來說,溴化反應溫度越高、液溴的滴加速度越快,ps的斷鏈越嚴重。分析聚合度下降的原因:在溴化過程中,體系內產生大量的自由基,活潑的自由基容易奪取聚苯乙烯分子主鏈上的氫(尤其是叔碳原子上的活潑性),而叔碳原子與其相連的亞甲基之間的鍵能較低,反應溫度升高后,很容易被打破,發生斷鏈反應,從而致使分子鏈斷裂,聚合度降低。 2.5bps的熱穩定性研究 熱重分析(tga)是測量阻燃劑熱穩定性的重要方法,阻燃劑的熱穩定性直接關系到產品的加工和應用。阻燃劑的熱分解溫度必須高于樹脂的加工溫度,否則阻燃劑會在加工過程中分解,不但染污了生產環境,而且導致阻燃劑的部分阻燃效能流失。bps必須擁有較高的熱分解溫度,其應用范圍才更加寬廣。 圖1 bps-8熱重分析圖
圖2 bps-10熱重分析圖
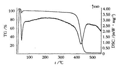
圖3 某進口bps樣品熱重分析圖
表4 bps的熱穩定性研究
升溫速率為3℃/min,其中ti為外延起始分解溫度,tm最快失質量溫度,tf為外延終止分解溫度,(tf-ti)代表失質量區間。從表4的數據中可以看出:本實驗制備的bps的熱穩定性與進口的同類產品十分接近實。自制低相對分子質量bps的熔點為230~240℃,初始分解溫度高于390℃,完全能夠滿足工程塑料的加工要求。而且,由于自制低相對分子質量bps的相對分子質量分布更加集中,熱失質量區間更小,有利于阻燃劑的加工和應用。 3結語 (1)本實驗成功地合成了一系列溴含量不同、熱穩定性好、低相對分子質量的溴化聚苯乙烯。自制bps能夠滿足工程塑料的加工要求。 (2)聚苯乙烯溴化時,液溴必須過量,bps的溴含量隨著液溴用量的增加而升高。當n(ps)∶n(br)=1∶6時,bps的溴含量分別為60.74%和64.51%,繼續增加液溴用量,bps的溴含量無明顯提高,反而提高了溴化成本。 (3)加入輔助溶劑能提高催化劑的溶解度,使溴化體系變為均相體系,提高無水三氯化鋁的催化效果,合成了高溴含量的bps,其溴含量達到75.59%。 |







